
第一步:進入設置規則
1、進入上網控制
登錄路由器管理界面,點擊 高級設置,進入設置界面,如下圖:

點擊 上網控制 >> 行為管理,如下圖:

第二步:設置經理上網規則
1、新建規則
在設置界面點擊 添加,添加經理電腦的訪問權限。點擊受控主機欄的 配置,如下圖:

2、添加受控主機
添加經理電腦的MAC地址(也可以控制經理電腦的IP地址),如下圖:

3、添加訪問目標
經理可以訪問任意目標,點擊 使用,如下圖:

4、添加時間
經理在任意時間訪問任意網站,所以選擇 任意時間,如下圖:

5、保存設置
添加經理規則完成后,點擊 保存,如下圖:

第三步:設置員工上網規則
與添加經理電腦相同,點擊 添加,設置員工訪問規則。
本例使用員工的IP地址段(所有電腦)控制上網規則。如下圖:

1、添加員工主機
注意:由于經理MAC地址已經被控制,所以地址段包含經理電腦不影響經理的權限。
2、添加DNS服務器
添加員工在任何時間、訪問任何目標的DNS服務,如下圖:

3、添加員工訪問官網
新建規則,設置員工在任何時間可以訪問官方網站(www.tp-link.com.cn),如下圖:

4、發郵件規則添加
新建規則,允許員工在任何時間發郵件(SMTP,TCP 25號端口),如下圖:

按照同樣的方法,添加員工收郵件的規則(POP3 TCP 110端口)。
5、添加非工作時間規則
新建規則,添加員工在非工作時間可以訪問任意網站,非上班時間添加如下:

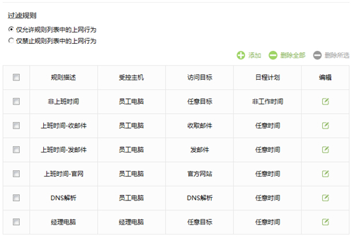
規則設置完畢后如下:

第四步:啟用上網控制功能
1、過濾規則選擇 僅允許規則列表中的上網行為(表中的規則允許,其他不符合規則的均不允許通過),如下圖:

2、開啟行為管理總開關,如下圖:

至此,上網控制功能設置完成。辦公網絡內的所有電腦均會按照設置的規則進行上網應用。
新聞熱點
疑難解答