
第一步:確認服務器搭建成功
設置虛擬服務器之前,需要確認以下幾點:
【1】服務器為手動指定IP地址(或IP地址不會動態變化)。
【2】局域網內的客戶端電腦可以訪問對應服務器開放的服務。
第二步:添加虛擬服務器規則
1、進入設置界面
登錄路由器管理界面,點擊 高級設置,如下圖:

點擊 高級用戶 >> 虛擬服務器,如下圖:

2、添加虛擬服務器規則
點擊 添加,如下圖:

添加網頁服務器:
對外開放端口為8080,內部端口為服務器真實端口80,點擊 保存,如下圖:

注意:外網用戶訪問服務器的時候使用外部端口,該端口可以與內部端口一致。
添加郵件服務器:
郵件服務器使用SMTP(25)、POP3(110),需要添加兩條規則,如下圖:

注意:由于該服務的特殊性,郵件服務中外部端口與內部端口需保持一致。
按照同樣的方式添加POP3的映射。
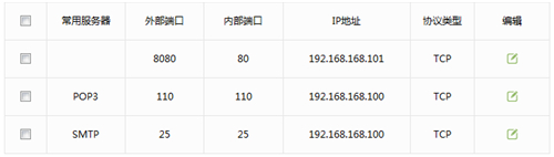
添加完成后,規則類表如下:

第三步:確認映射成功
根據以上設置,Internet中的郵件客戶端軟件訪問121.202.33.100,即可訪問到郵件服務器。通過瀏覽器訪問網頁服務器,訪問形式如下:

注意:具體的訪問形式以實際服務器要求為準。
如果您的寬帶并非靜態IP地址,可以在 動態DNS 中申請域名賬號并在路由器中登錄該賬號,登錄后使用域名和開放的端口號訪問服務器。
新聞熱點
疑難解答